Cookies

Laat ons weten welke cookies we mogen plaatsen. Wanneer essentiële cookies aanklikt verzamelen wij geen persoonsgegevens en help je ons de site te verbeteren. Wanneer je Cookies accepteren aanklikt krijg je een optimale website ervaring. Meer over privacy & cookies.

0342 - 473 991
Dynastart
  • Reviseren & repareren
  • Acties
  • Over Dynastart
    • Nieuws
    • FAQ
  • Contact
0
Inloggen
  • Dynamo & Airco
    • Aircopompen
    • Condensor
    • Dynamo's auto's
    • Dynamo's industrie
    • Dynamo's marine
    • Dynamo's motorfiets
    • Dynamo's vrachtwagens
    • Dynamo onderdelen
    • Dynastart
    • Multiriemen
    • V-snaren
  • Startmotor & DC motor
    • Startmotoren auto's
    • Startmotoren industrie & landbouw
    • Startmotoren marine & power sports
    • Startmotoren vrachtwagens
    • DC Motoren & Hydrauliek pompen
    • Startmotor onderdelen
  • Accu’s
    • Accubak
    • Batterijen
    • Deep Cycle Accu's
    • Motorfiets Accu's
    • Peak Power Pack
    • Portable power stations
    • Start Accu's
    • Thuisaccu
  • Laders & Omvormers
    • Accessoires & toebehoren
    • Accubeheersystemen
    • Accu bewaker
    • Acculaders
    • Accu monitoren
    • Accuscheiders
    • Combi omvormers DC-AC
    • Combi omvormers DC-AC & Solar
    • EV Lader & Laadkabels
    • Complete sets
    • Omvormers DC-AC
    • Omvormers DC-DC
    • Scheidingstransformatoren
  • Aggregaten & Pompen
    • Europower aggregaten
    • Honda aggregaten en waterpompen
    • Briggs & Stratton aggregaten
    • Waterpompen
    • Waterpomp accessoires
    • 2e hands
  • Verlichting
    • Achterlichten
    • Controllelampjes
    • Gloeilampen
    • Interieurverlichting
    • Lampfittingen
    • Ledstrip
    • Markeer Licht
    • Verlichting & toebehoren
    • Voorlichten
    • Waarschuwingslichten
    • Werklampen
    • Zijknipperlichten
    • Zwaailampen & Onderdelen
  • Elektra & Pneumatiek
    • Camera sets
    • Claxons, Zoemers & Achteruitrijalarmen
    • Dakairco
    • Dashbord Inbouwmeters
    • Installatiemateriaal
    • Pneumatiek
    • Relais 6V
    • Relais 12V
    • Relais 24V
    • Relais 48V
    • Ruitensproeierpomp
    • Standkachels
    • Stopmagneten
    • Ventilatoren & Aanjagers
  • Werkplaats & Tools
    • Accu gereedschap
    • Compressoren
    • Electrisch gereedschap (230V)
    • Equipment
    • Gereedschap los
    • Gereedschap sets
    • Opbergsystemen
    • Pneumatisch gereedschap
    • Smering, onderhoud & reiniging
    • Speciaal gereedschap
    • Starthulp
    • Verlichting
    • Verspanend gereedschap
  • Solar
    • Accessoires
    • Laadregelaars
    • Zonnepanelen
    • Zonnepanelen sets
Home > Elektra & Pneumatiek > Installatiemateriaal > Beschermkappen & Doppen > C-192831 Beschermhoes pvc rood

Artikelnummer C-192831

Beschermhoes pvc rood

Beschermhoes pvc rood
Lees meer

Artikelnummer C-192831

Beschermhoes pvc rood

Beschermhoes pvc rood
Lees meer

€ 2,40 Excl. BTW € 2,90 Incl. BTW
Per stuks / Op voorraad
Toegevoegd aan winkelmand
  • Beschrijving
  • Specificaties

Beschermhoes pvc rood

Details en beschrijving
Gewicht: 0,01 kg
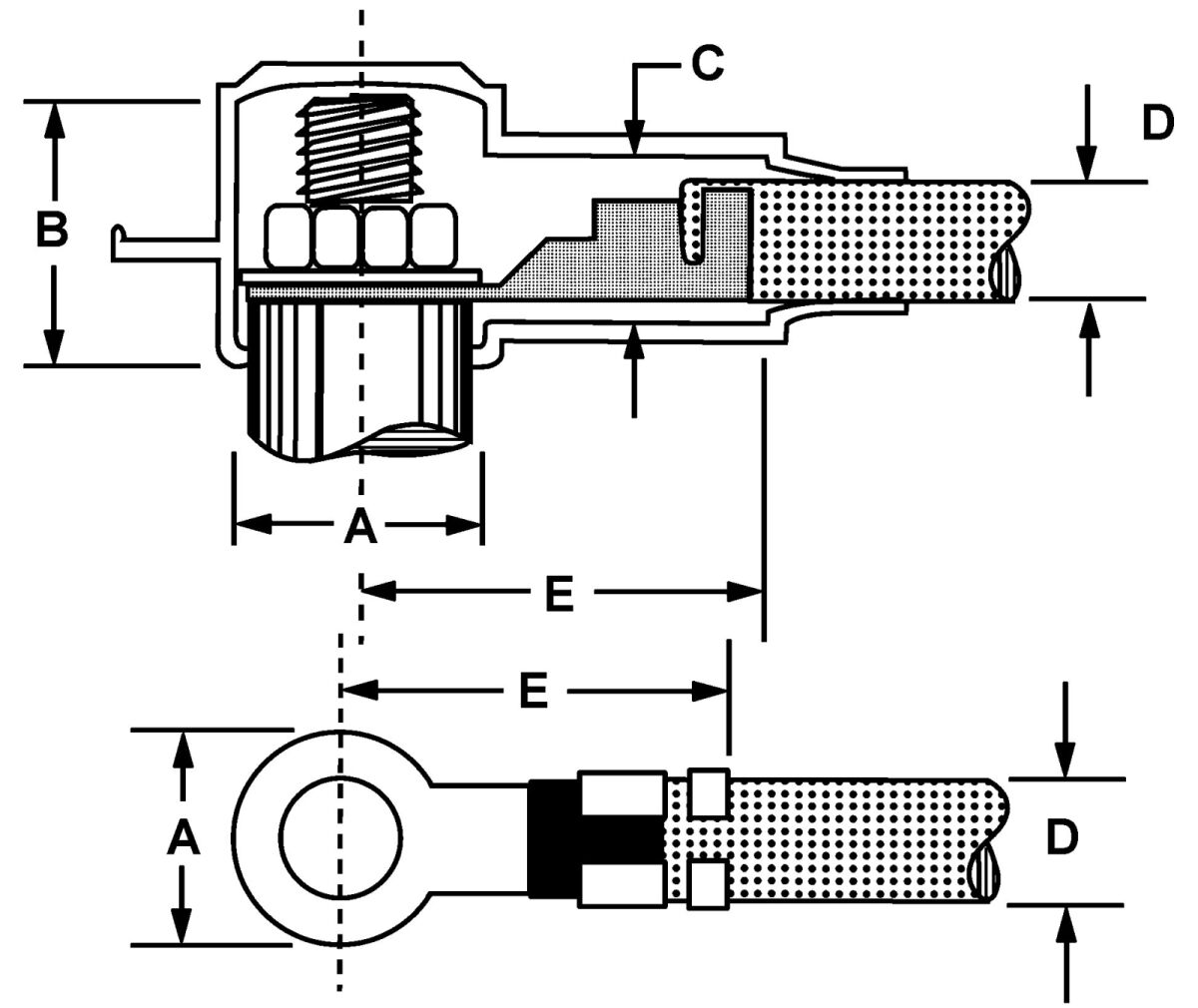
Binnendiameter in mm 17.8, Buitendiameter in mm 20, Materiaal PVC, Kleur Rood, Hoogte mm 24.1, Kabeldiameter mm 12.7, Terminal 1 mm 20, Terminal 2 mm 33.5

Fysieke informatie

  • C Binnendiameter in mm 17.8
  • Buitendiameter in mm 20
  • Materiaal PVC
  • Kleur Rood
  • B Hoogte mm 24.1
  • D Kabeldiameter mm 12.7
  • A Terminal 1 mm 20
  • E Terminal 2 mm 33.5

  • Voor 15:00 besteld, dezelfde dag verstuurd
  • Al meer dan 30 jaar accu, dynamo & startmotor specialist
  • Gratis advies in onze winkel
  • Google reviews geeft ons een 4.9 van de 5 sterren

Specificaties

Kabeldikte (mm²) 12,7mm
Diameter inwendig (mm) 17,8
Kleur Rood

Officiële dealer

Compressoren

Acculaders

Generatoren

Accu’s

Dynastart

Dynastart Elektro B.V.

Veemweg 7
3771 MT Barneveld
Nederland

0342 - 473 991
info@dynastartelektro.nl

Openingstijden

Ma - Do 08.00 - 18.00 uur
Vr 08.00 - 17.00 uur
Zat 08.00 - 12.00 uur

Klantenservice

  • Herroepingsrecht
  • Retourbeleid
  • Verzendkosten

Producten

  • Dynamo & Airco
    • Aircopompen
    • Condensor
    • Dynamo's auto's
    • Dynamo's industrie
    • Dynamo's marine
    • Dynamo's motorfiets
    • Dynamo's vrachtwagens
    • Dynamo onderdelen
    • Dynastart
    • Multiriemen
    • V-snaren
  • Startmotor & DC motor
    • Startmotoren auto's
    • Startmotoren industrie & landbouw
    • Startmotoren marine & power sports
    • Startmotoren vrachtwagens
    • DC Motoren & Hydrauliek pompen
    • Startmotor onderdelen
  • Accu’s
    • Accubak
    • Batterijen
    • Deep Cycle Accu's
    • Motorfiets Accu's
    • Peak Power Pack
    • Portable power stations
    • Start Accu's
    • Thuisaccu
  • Laders & Omvormers
    • Accessoires & toebehoren
    • Accubeheersystemen
    • Accu bewaker
    • Acculaders
    • Accu monitoren
    • Accuscheiders
    • Combi omvormers DC-AC
    • Combi omvormers DC-AC & Solar
    • EV Lader & Laadkabels
    • Complete sets
    • Omvormers DC-AC
    • Omvormers DC-DC
    • Scheidingstransformatoren
  • Aggregaten & Pompen
    • Europower aggregaten
    • Honda aggregaten en waterpompen
    • Briggs & Stratton aggregaten
    • Waterpompen
    • Waterpomp accessoires
    • 2e hands
  • Verlichting
    • Achterlichten
    • Controllelampjes
    • Gloeilampen
    • Interieurverlichting
    • Lampfittingen
    • Ledstrip
    • Markeer Licht
    • Verlichting & toebehoren
    • Voorlichten
    • Waarschuwingslichten
    • Werklampen
    • Zijknipperlichten
    • Zwaailampen & Onderdelen
  • Elektra & Pneumatiek
    • Camera sets
    • Claxons, Zoemers & Achteruitrijalarmen
    • Dakairco
    • Dashbord Inbouwmeters
    • Installatiemateriaal
    • Pneumatiek
    • Relais 6V
    • Relais 12V
    • Relais 24V
    • Relais 48V
    • Ruitensproeierpomp
    • Standkachels
    • Stopmagneten
    • Ventilatoren & Aanjagers
  • Werkplaats & Tools
    • Accu gereedschap
    • Compressoren
    • Electrisch gereedschap (230V)
    • Equipment
    • Gereedschap los
    • Gereedschap sets
    • Opbergsystemen
    • Pneumatisch gereedschap
    • Smering, onderhoud & reiniging
    • Speciaal gereedschap
    • Starthulp
    • Verlichting
    • Verspanend gereedschap
  • Solar
    • Accessoires
    • Laadregelaars
    • Zonnepanelen
    • Zonnepanelen sets

Navigatie

  • Reviseren & repareren
  • Acties
  • Over Dynastart
  • Contact

Social media

  • Copyright © 2025 Dynastart Elektro B.V.
  • Sitemap
  • Disclaimer
  • Privacy Policy
  • Algemene voorwaarden
  • Cookie-instellingen
  • Ontwerp BenedenBoven
  • Realisatie JRNY